Posted in: Games, Video Games | Tagged: nintendo, patent, walking apparatus
What is This Weird Walking Apparatus Nintendo Filed a Patent For?
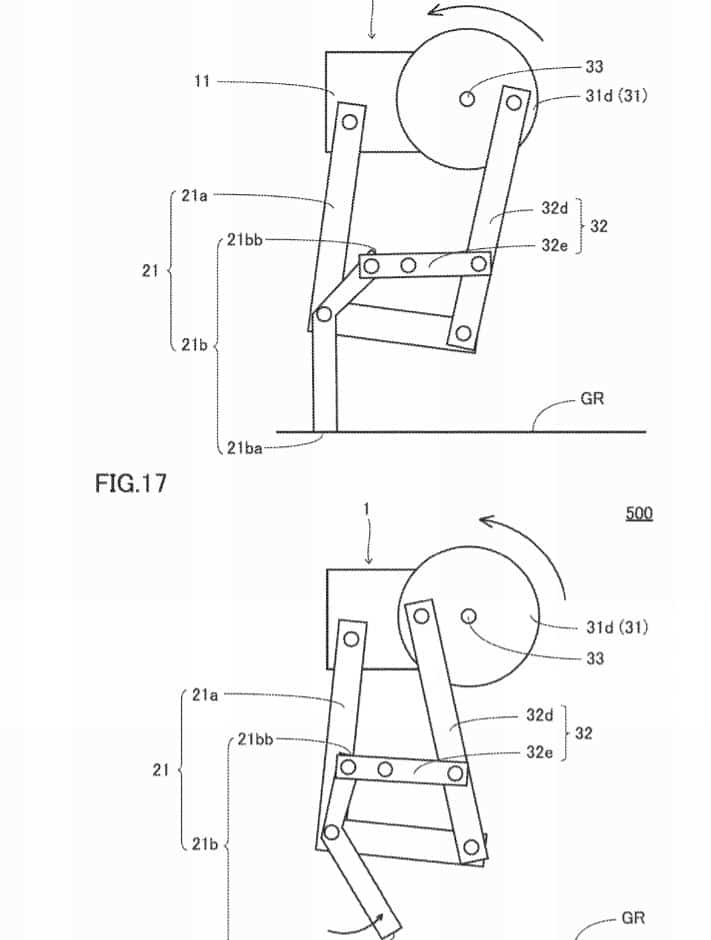
Usually, when Nintendo files a patent for something, we have a vague idea of what it might be used for. In this case, we don't have a single clue. Over the holiday weekend, the U.S. Patent Office posted a very peculiar looking item filed by Nintendo, which they've called a Passive Walking Apparatus and Passive Walking Module. The original patent was filed clear back in May 2017, with additional paperwork filed over a year later, but for some reason, the patent office didn't publish this for the public until December 27th, 2018. Some sleuthing minds discovered the original version of this was already patented in Japan back in 2011 by a group of researchers at Nagoya Institute of Technology, but this design is an improvement on the original.

The weird part to all of this is that there's no power going to the device or any external device to power it, it all relies on the person pushing it. At best, this looks like it might be some form of accessory, but to what purpose is unknown at this time. Just by looking at it from an objective standpoint, it feels like it might be a young kid's toy that they would use to help them walk and get around. Like a walking stroller, but shaped more like a shopping cart that has legs. In any case, we honestly can't figure out the purpose. Would you like to take a guess as to what Nintendo has in mind with this?
- credit//U.S. Patent Office
- credit//U.S. Patent Office
- credit//U.S. Patent Office














